冷壓端頭概念介紹
日期: 2019/11/22 9:07:00 點擊: 2891
冷壓端頭的概念
絕緣端(duan)子(zi)又名冷壓端(duan)頭,電子(zi)連接(jie)器,空(kong)中接(jie)頭都歸(gui)屬于(yu)冷壓端(duan)頭。是用(yong)于(yu)實現電氣(qi)連接(jie)的(de)一種配件產品(pin),工業(ye)上劃分為連接(jie)器的(de)范疇。 隨著工業(ye)自(zi)動化程度越(yue)(yue)來(lai)越(yue)(yue)高和工業(ye)控(kong)制(zhi)要求越(yue)(yue)來(lai)越(yue)(yue)嚴格、精確(que),接(jie)線端(duan)子(zi)的(de)用(yong)量逐漸上漲。隨著電子(zi)行(xing)業(ye)的(de)發(fa)展,接(jie)線端(duan)子(zi)的(de)使用(yong)范圍越(yue)(yue)來(lai)越(yue)(yue)多,而且種類也越(yue)(yue)來(lai)越(yue)(yue)多。目(mu)前用(yong)得最(zui)廣泛的(de)除了PCB板端(duan)子(zi)外,還有(you)五(wu)金連續(xu)端(duan)子(zi),螺(luo)帽端(duan)子(zi),彈簧端(duan)子(zi)等(deng)等(deng)。
圓形(xing)(xing)(xing)(xing)(xing)預(yu)(yu)絕(jue)緣端(duan)頭(tou)(tou)(tou)(tou)、冷壓接線(xian)端(duan)頭(tou)(tou)(tou)(tou)、叉(cha)形(xing)(xing)(xing)(xing)(xing)預(yu)(yu)絕(jue)緣端(duan)頭(tou)(tou)(tou)(tou)、針形(xing)(xing)(xing)(xing)(xing)預(yu)(yu)絕(jue)緣端(duan)頭(tou)(tou)(tou)(tou)、片形(xing)(xing)(xing)(xing)(xing)預(yu)(yu)絕(jue)緣端(duan)頭(tou)(tou)(tou)(tou)、子彈形(xing)(xing)(xing)(xing)(xing)全絕(jue)緣端(duan)子頭(tou)(tou)(tou)(tou)、長形(xing)(xing)(xing)(xing)(xing)中間(jian)(jian)接頭(tou)(tou)(tou)(tou)、短形(xing)(xing)(xing)(xing)(xing)中間(jian)(jian)接頭(tou)(tou)(tou)(tou)、圓形(xing)(xing)(xing)(xing)(xing)裸端(duan)頭(tou)(tou)(tou)(tou)、叉(cha)形(xing)(xing)(xing)(xing)(xing)裸端(duan)頭(tou)(tou)(tou)(tou)、公母預(yu)(yu)絕(jue)緣端(duan)子、管形(xing)(xing)(xing)(xing)(xing)預(yu)(yu)絕(jue)緣端(duan)頭(tou)(tou)(tou)(tou)、管形(xing)(xing)(xing)(xing)(xing)裸端(duan)頭(tou)(tou)(tou)(tou)、針形(xing)(xing)(xing)(xing)(xing)裸端(duan)頭(tou)(tou)(tou)(tou)等也(ye)都屬于冷壓端(duan)頭(tou)(tou)(tou)(tou)。
產品介紹
技術參數:
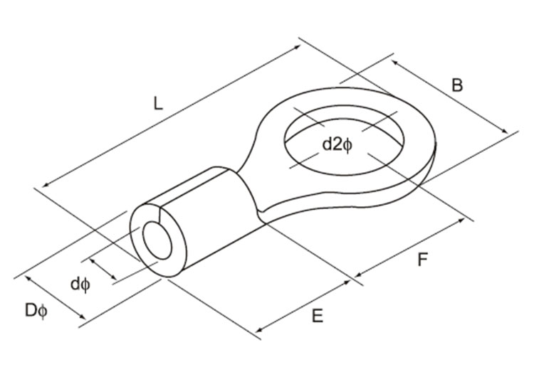
- 0.5-1.5mm2(22-16) 1max=19A
ITEM.NO. | USA screw | screw dia.d2(mm) | DIMENSION | |||||
B(mm) | L(mm) | Fφ(mm) | Eφ(mm) | Dφ(mm) | dφ(mm) | |||
RNB 1.25-3 | #4 | 3.2 | 5.7 | 12.6 | 4.95 | 4.8 | 3.4 | 1.7 |
RNBS 1.25-3.5 | #6 | 3.7 | 5.7 | 12.6 | 4.95 | |||
RNBM 1.25-3.5 | #6 | 3.7 | 6.6 | 14.4 | 6.3 | |||
RNBL 1.25-3.5 | #6 | 3.7 | 8 | 15.8 | 7 | |||
RNBS 1.25-4 | #8 | 4.3 | 6.6 | 14.4 | 6.3 | |||
RNBL 1.25-4 | #8 | 4.3 | 8 | 15.8 | 7 | |||
RNB 1.25-5 | #10 | 5.3 | 8 | 15.8 | 7 | |||
RNB 1.25-6 | 1./4 | 6.4 | 11.6 | 21.8 | 11.1 | |||
RNB 1.25-8 | 1./4 | 8.4 | 11.6 | 21.8 | 11.1 | |||
RNB 1.25-10 | 3./8 | 10.5 | 13.6 | 25.5 | 13.6 |
- 1.5-2.5mm2(16-14) 1max=27A
ITEM.NO. | USA screw | screw dia.d2(mm) | DIMENSION | |||||
B(mm) | L(mm) | Fφ(mm) | Eφ(mm) | Dφ(mm) | dφ(mm) | |||
RNB 2-3 | #4 | 3.2 | 6.6 | 12.3 | 4.3 | 4.8 | 4.1 | 2.3 |
RNBS 2-3.5 | #6 | 3.7 | 6.6 | 12.3 | 4.3 | |||
RNBM 2-3.5 | #6 | 3.7 | 6.6 | 16 | 7 | |||
RNBL 2-4 | #6 | 3.7 | 8.5 | 16.8 | 7.75 | |||
RNBS 2-4 | #8 | 4.3 | 6.6 | 16 | 7 | |||
RNBL 2-4 | #8 | 4.3 | 8.5 | 16.8 | 7.75 | |||
RNBS 2-5 | #10 | 5.3 | 8.5 | 16.8 | 7.75 | |||
RNBL 2-5 | #10 | 5.3 | 9.5 | 16.8 | 7.25 | |||
RNB 2-6 | 1./4 | 6.4 | 12 | 21.8 | 11 | |||
RNB 2-8 | 5./16 | 8.4 | 12 | 21.8 | 11 | |||
RNB 2-10 | 3./8 | 10.5 | 13.6 | 25.5 | 13.9 | |||
RNB 2-12 | 1./2 | 13 | 19.2 | 3.1 | 16.5 |
結構圖:
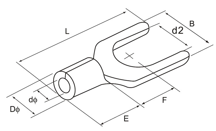
技術參數:
- 0.5-1.5mm2(22-16) 1max=19A
型號 | USA screw | screw dia.d2(mm) | 尺寸 | |||||
B(mm) | L(mm) | Fφ(mm) | Eφ(mm) | Dφ(mm) | dφ(mm) | |||
SNB 1.25-3 | #4 | 3.2 | 5.7 | 16 | 6.5 | 4.8 | 3.4 | 1.7 |
SNBS 1.25-3.5 | #6 | 3.7 | 5.7 | 16 | 6.5 | |||
SNBL 1.25-3.5 | #6 | 3.7 | 6.4 | 16 | 6.5 | |||
SNBS 1.25-4 | #8 | 4.3 | 6.4 | 16 | 6.5 | |||
SNBM 1.25-4 | #8 | 4.3 | 7.2 | 16 | 6.5 | |||
SNBL 1.25-4 | #8 | 4.3 | 8.1 | 16 | 6.5 | |||
SNBS 1.25-5 | #10 | 5.3 | 8.1 | 16 | 6.5 | |||
SNBL 1.25-5 | #10 | 5.3 | 9.5 | 16 | 6.5 | |||
SNBS 1.25-6 | 1/4 | 6.4 | 9.5 | 16 | 6.5 | |||
SNBL 1.25-6 | 1/4 | 6.4 | 12 | 22 | 11 |
- 1.5-2.5mm2(16-14) 1max=27A
型號 | USA screw | screw dia.d2(mm) | 尺寸 | |||||
B(mm) | L(mm) | Fφ(mm) | Eφ(mm) | Dφ(mm) | dφ(mm) | |||
SNB 2-3 | #4 | 3.2 | 5.7 | 16 | 6.5 | 4.8 | 4.1 | 2.3 |
SNBS 2-3.5 | #6 | 3.7 | 5.7 | 16 | 6.5 | |||
SNBL 2-3.5 | #6 | 3.7 | 6.4 | 16 | 6.5 | |||
SNBS 2-4 | #8 | 4.3 | 6.4 | 16 | 6.5 | |||
SNBM 2-4 | #8 | 4.3 | 7.2 | 16 | 6.5 | |||
SNBL 2-4 | #8 | 4.3 | 8.1 | 16 | 6.5 | |||
SNBS 2-5 | #10 | 5.3 | 8.1 | 16 | 6.5 | |||
SNBL 2-5 | #10 | 5.3 | 9.5 | 16 | 6.5 | |||
SNBS2-6 | 1/4 | 6.4 | 9.5 | 16 | 6.5 | |||
SNBL 2-6 | 1/4 | 6.4 | 12 | 22 | 11 |
結構圖:
材質:采用UL認可之尼(ni)龍66料(liao)制(zhi)成,防火等級94V-2,耐酸,耐蝕,絕(jue)緣性良好,不易老化(hua),承受力(li)強(qiang)。
特點:可依松開重復使用。
技術參數:
編號 | 長(L) | 寬(W) | ||||
捆扎范圍 | 拉力范圍 | |||||
Item.No. | Inch | mm | mm | mm | LBS | KGS |
QLS-4X150RT | 6" | 150 | 3.5 | 5-35 | 40 | 18 |
QLS-5X200RT | 8" | 200 | 4.5 | 5-50 | 50 | 22 |
QLS-8X100RT | 4" | 100 | 7.2 | 5.-22 | 110 | 50 |
QLS-8X150RT | 6" | 150 | 7.2 | 5-35 | 110 | 50 |
QLS-8X200RT | 8" | 200 | 7.2 | 7-50 | 110 | 50 |
QLS-8X250RT | 10" | 250 | 7.2 | 7-65 | 110 | 50 |
QLS-8X300RT | 12" | 300 | 7.2 | 8-82 | 110 | 50 |
QLS-8X350RT | 14" | 300 | 7.2 | 8-90 | 110 | 50 |
公司介紹
樂清市七里港塑膠有限公司 成立于1996年,專業生產和銷售各種塑料制品,如尼龍扎帶,釘索夾,膨脹釘,尼龍電纜接頭,電線管,管道預絕緣端子,電纜標識,安全型電線接頭,螺紋電線連接器,螺旋纏繞帶和固定件,以及諸如管裸端子和銅管端子 等(deng)金(jin)屬(shu)產(chan)品。我(wo)們有自己(ji)的研(yan)發團隊(dui)。如(ru)果您有特殊設計,我(wo)們可(ke)以(yi)接受構建塑(su)料模具任務。
我們的工廠品質(zhi)優先,已通過ISO9001,我們的生產大部分嚴格(ge)通過CE / SGS / REACH / ROHS標準(zhun)。
電話:+ 86-577-62658186
傳真:+ 86-577-62658185
電子郵件:info@steelccm.cn
熱門產品
相關新聞
- 2019-12-10
- 2019-11-27
- 2019-11-26
- 2019-11-25
- 2019-11-23